【米穀検査・トレーサビリティ こめけん】

インターネットで情報管理
かんたん操作・柔軟カスタマイズ

インストール不要

インストール不要

インターネット環境があればOK。
アプリのインストール不要です。

簡単登録、かんたん出力

操作が簡単

パソコンが苦手でも大丈夫!
簡単な操作で検査や在庫情報が管理出来ます。

発展途上

柔軟なカスタマイズ

ご要望に応じたカスタマイズも承ります。お気軽にご相談ください。※お見積り無料

お知らせ

2025/02/01
新規の利用申込みを停止させていただきます。

2022/09/20
トレーサビリティ・在庫管理機能の提供開始(※別途お見積り)。
詳細はフォームよりお問合せ下さい。

2021/10/23
お問合せフォーム不具合を修正しました

2021/10/15
国内産農産物の包装の事前確認台帳(紙袋の在庫数管理)を追加しました

2021/09/25
検査格付結果通知書の書式例を追加しました

2021/09/20
受検表の書式例を追加しました

2021/09/18
検査請求明細書の書式例を追加しました


米検(こめけん)について

 長野県内の農産物検査機関様からのご依頼で、農産物検査の際に必要となる帳票を出力するシステムを開発いたしました。
 パソコンに不慣れなので簡単な入力で農産物検査(米検査)の書類を出力したい、とのご相談でした。
 当システムで出力可能な帳票は農産物検査(米検査)で必要な帳票の一部です。サンプル帳票をご確認の上、帳票のレイアウト変更や追加帳票が必要な場合はお気軽にご相談ください。
 現在、山形県および長野県の企業様にてご利用頂いております。

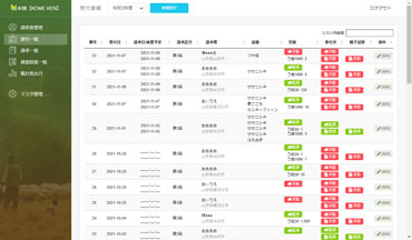
農産物検査帳票システム 受付準備画面イメージ
受付準備画面イメージ

機能概要

 農産物検査法 第3条の品位等検査(米穀の品位等検査)に係る以下の帳票作成に必要な情報の登録機能、および帳票のPDF出力機能が利用できます。
 各書式のレイアウトは、現在検査業務で使用している書類のレイアウトを作成してご提供致します。
 また、現行システムと異なる集計手順や、新規の入力項目追加などのカスタマイズも対応可能です。
※現行システムとの乖離が大きい場合は別途費用をお見積りさせていただくこともございます。

  • 委任状、紙袋、種子証明等の受渡管理
  • 紙袋、推フレの在庫管理
  • 検査対象情報の管理・帳票出力
  • 検査結果管理・帳票出力
  • 農政局提出報告書の出力
  • トレーサビリティ(仕入・搗精・出荷・在庫量管理)※別途お見積り
農産物検査帳票システム 帳票出力画面イメージ
帳票出力画面イメージ
※帳票名をクリックするとサンプルが表示されます。

ご利用方法

かんたん操作・入力するだけ!

 日々の業務でノートやExcelなどに記載していた生産者情報や受け入れたお米の品種、検査結果等を画面に入力するだけで、農産物検査に必要な書類が作成できます。 検査依頼者(生産者)や銘柄、包装等の情報は一度登録すると、それ以降は選択式で操作が可能になるため登録作業も非常に効率的です。 各書類も日、月、年度を選択してボタンを押すだけの簡単操作で出力できます。


インターネット繋がればOK!

 パソコンのブラウザ*から弊社指定のURLにアクセスしていただきますので、パソコンの買い替えや複数のパソコンでのご利用もご心配なくご利用いただけます。また、検査現場など事務所以外からでもインターネットにつながる環境であればご利用いただけます。
 帳票はPDFファイルで出力されますので、印刷が必要な場合は事前にプリンタの設定が必要です。訪問設定(費用別途)も対応致します。

 事前にサービス内容を確認していただくため、オンラインで操作デモをご案内させていただきます。

(*):Google Chrome バージョン: 80.0.3987.122以上推奨


一般的な操作の流れ

 日々の業務の中で検査請求情報と検査結果を登録するだけで帳票出力の準備が終わります。

【各種マスタ登録】(初回のみ)
登録銘柄品種、包装、量目、検査手数料などを登録し、以降選択項目として利用できるようにします。
【検査請求者登録】(随時)
登録されていない検査請求者からの依頼の際は、新規に検査請求者の登録を行います。
【検査請求内容登録】(随時)
検査請求の内容を先に登録したマスタの選択肢から選んで登録していきます。
【検査結果登録】(検査日)
等級ごとに数量を入力し格付理由を選択して結果を登録します。
【帳票出力】(日次、月次、年度)
出力したい帳票のボタンをクリックするだけで帳票が出力されますので、保存して印刷してください。

農産物検査帳票システム 登録画面イメージ
登録画面イメージ

価格

初期費用:15万円(税抜)
年間利用料:1万2千円(税抜)

初期費用には、上記帳票のレイアウトを現在お使いの帳票に合わせて変更する作業費用が含まれます。また、上記以外の帳票や各種マスタ登録作業、機能追加のご要望は内容を伺った上で対応の可否を検討させていただきます。

[2025/02/01] 当面の間、新規のご利用申し込み受付を停止させていただきます。

農産物検査帳票システム 検査結果画面イメージ
検査結果リスト画面イメージ

お問合せフォーム

*は必須項目
|プライバシーポリシー|